Hi guys,
Ok, I am at my wits end. I've come back to Pic and Picbasic pro from AVR so I can rapidly develop some basic circuits I need for the homestead. I spent two days working on two simple (well should be) circuits and cannot seem to get anything working except PWM on 16F628.
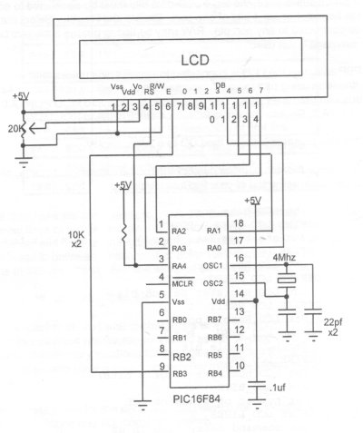
I wanted to make a turns counter using a hall effect and LCD connected to a 16F628. I have an old LCD backpack but it just sends garbage to the lcd as if the controller on it has been zapped by static or something.
So I fired up one of the many new LCD's I have and using LCDOUT I still cannot get anything working. I set up the 16F628 and made sure three or four of them were working on the test board and all were fine and could output PWM on CCP1 etc, but no LCD even after hours of checking and rechecking connections and filtering power etc. It's got to be coding issues. Don't laugh too hard, I have not written in basic in years now
Here is the circuit I am using and code:
@ DEVICE PIC16F628, INTRC_OSC_NOCLKOUT, WDT_ON, MCLR_OFF,BOD_ON, LVP_OFF, CPD_OFF, PROTECT_OFF
DEFINE OSC 4
TRISA = %00011111
TRISB = %00001000
CMCON = 7 ' PortA = digital I/O
begin:
pause 1000
LCDOUT $FE,1,"Testing...."
pause 1000
LCDOUT $FE,1
goto begin






Bookmarks